Nintendo Switch pode ter um trunfo de realidade virtual na manga
Uma patente submetida pela Nintendo indica que a empresa pode estar a desenvolver um headset de realidade virtual para combinar com o ecrã da nova consola.

A próxima consola da Nintendo vai trazer muitas novidades. A empresa japonesa já mostrou algumas delas num vídeo publicado no passado mês de novembro, mas uma patente submetida recentemente indica que a tecnológica pode ter grandes trunfos escondidos na manga. Um deles é a realidade virtual.
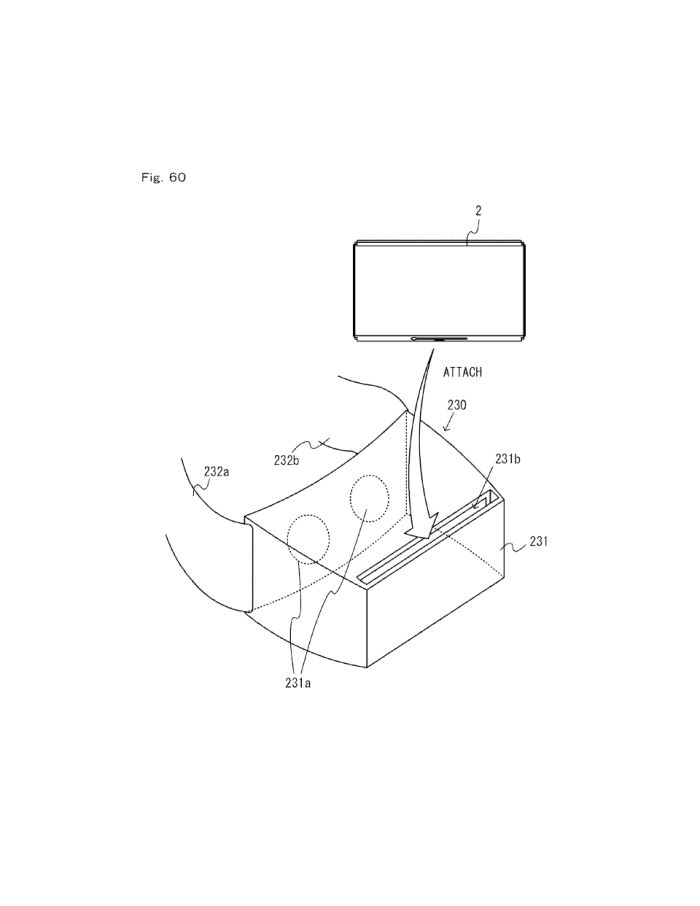
No NeoGAF, um conhecido fórum de videojogos, um utilizador chamou à atenção para uma série de documentos registados em nome da Nintendo que expõem alguns dos mecanismos e tecnologias integrados na Switch. No dossier, o último desenho técnico destaca-se ao dar sinais de que a Switch pode não só ter suporte para realidade virtual como chegar com um headset próprio.

Na ilustração é possível perceber que a ideia é criar uma espécie de Daydream View onde o ecrã da consola poderá ser encaixado e utilizado para jogar versões tridimensionais dos jogos da consola. Nesta lógica, e tal como já foi possível ver no trailer, os controladores amovíveis vão dar muito jeito.
Numa altura em que a PlayStation já anuncia o sucesso dos seus PSVR e a Xbox passou a disponibilizar streaming em VR no headset da Oculus, esta não seria uma aposta descabida por parte da empresa japonesa. Há que sublinhar, no entanto, que apesar de muitos dos documentos deste dossier corresponderem a funcionalidades já confirmadas, o desenvolvimento de um headset e o suporte para realidade virtual não foram confirmados pela Nintendo.
- E-mail:
- info@developing.pt
